Jaw crusher
1.1 Types and Construction of jaw crusher
Due to their simple structure, ease of manufacture, convenient maintenance, and low cost, jaw crushers are widely used in industries such as metallurgy, mining, construction, transportation, and the chemical industry. This type of crusher is particularly common in small and medium-sized ore processing plants and mines. This type of crusher can also be mounted on a movable frame, allowing it to be used as a mobile crusher for crushing at various locations.
Depending on the position of the movable jaw, jaw crushers can be categorized as top-mounted and bottom-mounted. Currently, top-mounted jaw crushers are the most common type used in various mines.
Based on the motion of the movable jaw, jaw crushers can be further divided into simple swinging types [Figure 1-1 (a)] and complex swinging types [Figure 1-1 (b)].

1-1-(a) Simple swing type 1-1-(b) Complex swing type
Figure 1-1 Main types of jaw crushers
1—Fixed jaw; 2—Moving jaw suspension shaft; 3—Moving jaw; 4—Front (rear) thrust plate; 5—Eccentric shaft; 6—Connecting rod
1.2, Simple Swinging Jaw Crusher
The simple swinging jaw crusher, also known as the simple swinging jaw crusher, is widely used. Figure 1-2 illustrates a simple swinging jaw crusher, primarily consisting of a crushing chamber, adjustment device, safety device, support mechanism, and transmission mechanism. The front wall of the frame in the figure represents the fixed jaw. The central shaft (also known as the movable jaw suspension shaft) is supported by bearings in the frame's side walls, and the movable jaw is suspended from the center of the central shaft. The eccentric shaft is supported by the main bearing and is attached to a connecting rod. The lower portion of the connecting rod is equipped with front and rear thrust plates. When the motor, via a V-belt, rotates the pulley and eccentric shaft, the vertical connecting rod generates up and down motion, driving the front thrust plate back and forth. When the connecting rod moves upward, the front thrust plate pushes the movable jaw forward toward the fixed jaw, crushing the material in the crushing chamber. This is called the working stroke. When the connecting rod descends, the movable jaw returns to its original position, clearing the fixed jaw, and the crushed material is discharged. This is called the idle stroke. During the idle period,

Figure 1-2 Simple Swinging Jaw Crusher
1—Frame; 2, 6—Tooth Plates; 3—Pressure Plate; 4—Spindle; 5—Moving Jaw; 7—Bolt; 8—Eccentric Shaft; 9—Connecting Rod; 10—Pulley; 11, 14—Thrust Plate Supports; 12—Front Thrust Plate; 13—Rear Thrust Plate; 15—Tie Rod; 16—Spring; 17—Backing Plate; 18—Side Liner; 19—Steel Plate
The flywheel (not shown) and pulley mounted on the eccentric shaft store energy for release during the working stroke, thereby reducing the eccentric shaft speed and minimizing motor power fluctuations.
The trapezoidal space between the movable and fixed jaws is called the crushing chamber, the working portion for crushing material. The shape of the crushing chamber directly affects production capacity, power consumption, liner (tooth) plate wear, and crushing ratio. There are two types: linear and curved, as shown in Figure 1-3. The curved crushing chamber uses a curved tooth plate below the jaw plate, resulting in a gradually decreasing meshing angle (the angle between the movable and fixed jaw liner plates) from top to bottom. During each opening or closing of the movable jaw, the volume of material in the trapezoidal cross-section gradually increases downward, resulting in increased material throughput.

(a) Linear crushing chamber (b) Curved crushing chamber
Figure 1-3 Crushing chamber shapes
This shifts the blockage point upward, making it less likely to clog near the discharge port. Practice has shown that, for the same movable jaw stroke and swing frequency, a curved crushing chamber increases production capacity by 28%, reduces tooth plate wear by 20%, and saves approximately 10%.
The teeth on the fixed and movable jaw plates have a triangular cross-section, and the peaks of the fixed jaw plate face the valleys of the movable jaw plate, creating concentrated stress and bending stress that facilitates material crushing. To extend the life of the tooth plates, in addition to being made of wear-resistant alloy steel, large crushers often use two or three separate tooth plates, allowing the upper and lower plates to be swapped after a period of operation.
The material of the tooth plates significantly affects the life of the jaw plates, production costs, and the particle size distribution of the crushed product. Tooth plates are generally made of high-manganese steel (containing 12% to 14% or more manganese). In recent years, my country has successfully developed tooth plates made of alloy cast iron (such as high-chromium cast iron, nickel-hard cast iron, and medium-manganese ductile iron), which have a significantly longer service life than high-manganese steel.
The discharge opening adjustment device features a set of shims installed between the rear thrust plate and the rear support. Changing the thickness or number of the shims adjusts the width of the discharge opening. Large jaw crushers often use this adjustment device. Another type of wedge adjustment device, such as the wedge shown in Figure 1-4,

Figure 1-4 Wedge Adjustment Device
1—Thrust Plate; 2—Wedge; 3—Adjusting Wedge; 4—Frame
uses bolts and nuts, a worm gear, or a chain drive to move the rear wedge up and down. This causes the front wedge to move horizontally back and forth, and the thrust plate and movable jaw follow suit, thereby adjusting the width of the discharge opening. A third type of discharge opening width adjustment device uses a hydraulic cylinder and piston installed between the rear thrust plate support and the rear wall of the frame. The movement of the piston drives the thrust plate and movable jaw, achieving the purpose of adjusting the discharge opening width.
The thrust plate is a safety device for the crusher (simple-swing jaw crushers use a rear thrust plate as a safety device). The thrust plate is typically made of cast iron and has several small holes in its cross-section to reduce its strength. When non-crushable material enters the crushing chamber, the rear thrust plate breaks first through the small holes, protecting other equipment components from damage.
Another safety device consists of a rear thrust plate that is riveted together in two sections. This ensures that when non-crushable material enters the crushing chamber, the pins shear first, immediately stopping the crusher. Another safety device is a hydraulic connecting rod. The connecting rod is equipped with a hydraulic cylinder and piston; the cylinder is connected to the connecting rod head, and the piston is connected to the thrust plate support. When non-crushable material enters the crushing chamber, the force on the piston increases, increasing the oil pressure in the cylinder. When this exceeds the specified pressure, the pressure oil is discharged through the high-pressure relief valve, causing the piston and thrust plate to stop.
The eccentric shaft of a jaw crusher is typically made of high-quality alloy steel. In my country, steel grades such as 42MnMoV, 30Mn2MoB, and 34CrMo are used. The suspension shaft is made of 45 steel.
The bearings of a jaw crusher are either sliding bearings or rolling bearings with Babbitt gold-containing bearing bushings. Currently, rolling bearings are only used in small jaw crushers in my country. Lubrication of sliding bearings is crucial, and a thin oil lubrication system is typically used, which provides both lubrication and cooling. The jaw crusher frame is made of cast steel or welded steel plates. Large crushers often use welded frames.
1.2.1.2 Complex Swinging Jaw Crusher
A complex swinging jaw crusher is also known as a compound swinging jaw crusher. This type of crusher has only one thrust plate, and the movable jaw's suspension shaft also serves as the eccentric shaft for the drive. This eliminates the need for connecting rods and other components, resulting in a 20% to 30% reduction in weight compared to a simple swinging jaw crusher. Because the movable jaw is directly suspended on the eccentric shaft (Figure 1-5), its motion path is more complex. In a simple swinging jaw crusher, the movable jaw's motion path is a circular arc of reciprocating motion centered on the mandrel. The stroke can be divided into two components: horizontal and vertical. The ratio of these components is roughly shown in Figure 1-6 (a). The motion path of the movable jaw in a compound swinging jaw crusher is approximately circular at the upper end, elliptical in the middle, and arc-shaped at the lower end. The ratio of the horizontal to vertical stroke is roughly shown in Figure 1-6 (b). Practice has shown that, given the same equipment specifications and other conditions, compound-swing jaw crushers offer approximately 30% greater production capacity than simple-swing jaw crushers, but suffer more severe tooth plate wear.
The fixed and movable jaw tooth plates, crushing chamber geometry, and safety devices are similar to those of simple-swing jaw crushers.

Figure 1-5 Complex swing jaw crusher
1—Eccentric shaft; 2—Flywheel; 3—Head guard; 4—Press bar; 5—Upper cheek plate; 6—Front frame; 7—Fixed jaw liner; 8—Lower cheek plate; 9—Moving jaw liner; 10—Support bar; 11—Moving jaw; 12—Tie rod; 13—Toggle plate; 14—Discharge opening adjustment device
(a) Simple pendulum jaw crusher (b) Compound pendulum jaw crusher
Figure 1-6 Motion trajectory of the moving jaw of a jaw crusher
The specifications of a jaw crusher are expressed in terms of the size of the feed opening (width x length). The production capacity of a jaw crusher is listed in Table 1-2.
Table 1-2 Jaw Crusher Production Capacity Unit: m³/h
|
Feeding size/in |
motor /kW |
output size/mm |
||||||||
|
25 |
32 |
38 |
51 |
63 |
76 |
102 |
127 |
152 |
||
|
10×20 |
14 |
127 |
154 |
182 |
230 |
310 |
|
|
|
|
|
10×24 |
11 |
145 |
173 |
200 |
310 |
300 |
|
|
|
|
|
15×24 |
22 |
|
209 |
245 |
300 |
381 |
454 |
|
|
|
|
14×24 |
19 |
|
|
236 |
700 |
372 |
454 |
|
|
|
|
24×36 |
56 |
|
|
|
|
863 |
103 |
136 |
|
|
|
30×42 |
75 |
|
|
|
|
113 |
136 |
182 |
227 |
272 |
|
Feeding size/in |
Motor /kW |
output size /mm |
||||||||
|
63 |
76 |
102 |
127 |
152 |
178 |
203 |
229 |
254 |
||
|
32×42 |
75 |
|
|
227 |
263 |
300 |
327 |
363 |
|
|
|
36×48 |
93 |
|
189 |
245 |
300 |
354 |
409 |
|
|
|
|
42×48 |
110 |
|
|
|
345 |
381 |
426 |
463 |
490 |
527 |
|
48×60 |
1580 |
|
|
|
|
436 |
481 |
517 |
554 |
600 |
|
56×72 |
186 |
|
|
|
|
|
454 |
500 |
567 |
617 |
|
66×84 |
225 |
|
|
|
|
|
700 |
772 |
863 |
950 |
Note: in=2.54cm, same below.
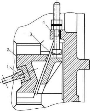
1.2.1.3 Direct-Drive Jaw Crusher
A direct-drive jaw crusher (Figure 1-7) lacks a rear thrust plate. Instead, the eccentric shaft is located at the bottom. When the eccentric shaft rotates, it directly pushes the movable jaw, crushing the material. This type of crusher is used for coarse crushing of various hard materials.
In conventionally driven simple-swing jaw crushers, the force on the connecting rod and connecting rod bearing is approximately one-third of the force on the thrust plate. In a direct-drive simple-swing jaw crusher, the entire force is applied to the bearings and eccentric shaft, placing very high demands on both the bearings and the eccentric shaft. Because this type of crusher directly pushes the movable jaw, the eccentricity of the eccentric shaft is smaller than that of a conventionally driven jaw crusher, given the same movable jaw stroke.
Rough adjustment of the discharge opening width is typically achieved by using thrust plates of varying lengths or by increasing or decreasing the thickness and number of spacers. Fine adjustment is achieved by rotating the eccentric bushing in the bearing head.

Figure 1-7 Direct-drive jaw crusher
1—Casing; 2—Fixed jaw plate; 3—Moving jaw; 4—Moving jaw plate; 5—Clamping wedge; 6—Moving jaw shaft; 7—Eccentric shaft; 8—Eccentric shaft bearing; 9—Bearing head; 10—Thrust plate; 11—Spacer; 12—Spring rod; 13—Return spring
1.2.1.4 Impact jaw crusher
The impact jaw crusher is a crushing device that uses impact energy to crush high-strength (above 350 MPa) materials. The crushing chamber of this machine has different meshing angles. The closer to the feed port, the larger the meshing angle and the larger the crushing space. In addition to meeting the requirement of large feed particle size, it can also subject the material to impact crushing. At the same time, the meshing angle at the discharge port is small, which is conducive to discharge and reduces blockage. This crusher uses the high speed of the eccentric shaft (up to 500-1200 r/min) to make the movable jaw produce impact and extrusion to crush the material. Figure 1-8 is a structural diagram of the impact jaw crusher [2].

Figure 1-8 Impact Jaw Crusher
1—Moving jaw liner; 2—Fixed jaw liner; 3—Moving jaw; 4—Spindle; 5—Eccentric shaft; 6—Roller bearing; 7—Connecting rod; 8—Connecting rod; 9—Adjusting screw; 10—Wedge; 11—Overload protection spring; 12—Crossbeam; 13—Support plate; 14—Support head; 15—Flywheel; 16—Frame
This crusher features a disc spring installed on the connecting rod as a safety device. When non-crushable material enters the crushing chamber, the spring retracts, protecting the crusher.
Currently, ThyssenKrupp GmbH of Germany manufactures 24 different sizes of impact jaw crushers for coarse, medium, and fine crushing. These crushers are particularly suitable for coarse and medium crushing of high-strength materials (such as ferroalloys) and medium-hard materials. For coarse crushing, the maximum feed size can reach 1800 mm, the minimum discharge size can reach 260 mm, and the production capacity can reach approximately 650 m³/h.
1.2.1.5 Other types of jaw crushers
The structural diagram of the double-acting jaw crusher is shown in Figure 1-9. The structural features of this machine are: a double-acting jaw mechanism with synchronous movement; a crushing chamber with a variable meshing angle that is symmetrical up and down; a negative angle support for the thrust plate of the movable jaw; and a low-slung eccentric shaft.

Figure 1-9 Schematic diagram of a double-acting jaw crusher
1—Frame; 2, 3—Jaw plates with drive shafts
The vibrating jaw crusher, developed by the Mikhanoble Mineral Processing Research and Design Institute in Russia, utilizes the centrifugal inertial force and high-frequency vibrations generated by an unbalanced vibrator to achieve crushing. It features a dual-moving jaw structure, as shown in Figure 1-10. The jaws are elastically supported on the frame, with two movable jaws suspended from the frame's torsion shaft. Each movable jaw is equipped with a synchronously rotating unbalanced vibrator. When the two unbalanced vibrators rotate in opposite directions, they push the movable jaws to oscillate back and forth in opposite directions relative to the torsion shaft. When the two movable jaws approach each other, the material in the crushing chamber is crushed. The torsion shaft allows the amplitude of the movable jaw's oscillation to be adjusted, thereby controlling the particle size of the crushed product. This crusher is suitable for crushing difficult-to-crush materials such as ferroalloys, metal shavings, steel scrap, grinding wheels, and smelting slag. It can also crush frozen fish with minimal damage to the fish itself. The crushable material has a compressive strength of up to 500 MPa. Equipment specifications include 80mm × 300mm, 100mm × 300mm, 100mm × 1400mm, 200mm × 1400mm, and 440mm × 1200mm. The movable jaw has a swing frequency of 13 to 24Hz and a power of 15 to 74kW.

Figure 1-10 Schematic diagram of a vibrating jaw crusher
1—Frame; 2—Moving jaw; 3—Unbalanced vibrator; 4—Torsion shaft
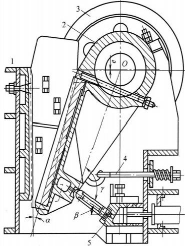
The upward-thrust compound-swing jaw crusher changes the thrust plate assembly from downward to upward support and increases the transmission angle γ, making it greater than 90° (γ is less than 90° in the downward-thrust compound-swing jaw crusher), as shown in Figure 1-11. This changes the kinematic characteristics of the movable jaw, reducing its vertical travel while maintaining its original horizontal travel. Another structural feature is the replacement of the traditional jaw crusher's positive suspension (i.e., the movable jaw suspension point is vertically positioned above the feed opening) with a negative (or zero) suspension. This vertical position of the movable jaw suspension point is lowered to a position close to or below the feed opening, increasing the movable jaw's horizontal travel at the upper end while reducing the equipment's height and weight.

Figure 1-11 Push-type compound swing jaw crusher
1—Frame; 2—Moving jaw; 3—Pulley; 4—Tensioning device; 5—Adjustment device
1.2.2 Parameters of jaw crusher
1.2.2.1 Bite angle
The angle α between the movable and fixed jaws of a crusher (Figure 1-12) is called the engagement angle. The upper limit of the engagement angle should ensure that the material is gripped and prevented from being squeezed out of the crushing chamber during crushing. Furthermore, the engagement angle changes when the discharge opening width is adjusted. Reducing the discharge opening width increases the engagement angle; conversely, increasing the discharge opening width decreases the engagement angle. Increasing the engagement angle increases the crushing ratio, but also reduces production capacity. Therefore, the relationship between crushing capacity and crushing ratio should also be considered when selecting the engagement angle.
Theoretically, the maximum engagement angle between the two jaws can be determined by analyzing the forces acting on the jaws. The forces acting on the material when the jaws press against it are shown in Figure 1-12.
fP₂, where f represents the friction coefficient between the material and the jaws. The weight of the material is very small compared to the forces P₁ and P₂ and can be ignored. Based on the analysis of the forces acting on the two jaws in Figure 1-12, the force balance equations for the x-axis and y-axis can be formulated:
P₁ - P₂ cosα — fP₂ sinα = 0 ;(1-1)
fP₁ - fP₂ cosα + P₂ sinα = 0;(1-2)
Simple calculations yield:
tanα = 2f/(1-f²) ;(1-3)
The friction coefficient f can be expressed as the friction angle ψ, i.e., f = tanψ. Substituting into equation (1-3):
tanα = tan2ψ
α = 2ψ ;(1-4)
Equation (1-4) indicates that the maximum value of the meshing angle is twice the friction angle. Typically, the friction coefficient f between the material and the jaw plate is 0.2-0.3, equivalent to a friction angle ψ of ≈12°. Therefore, the meshing angle of a jaw crusher is typically set between 18° and 24°.

Figure 1-12 The bite angle of the jaw crusher
1.2.2.2 Eccentric Shaft Speed
The speed of the eccentric shaft of a jaw crusher is the number of times the movable jaw swings back and forth. For every rotation of the eccentric shaft, the movable jaw swings back and forth once. The first half of the rotation is the working stroke, and the second half is the idle stroke. If the speed is too fast, the crushed material has not yet been discharged from the crushing chamber, and the movable jaw swings forward, affecting discharge and hindering crusher productivity. If the speed is too slow, the material in the crushing chamber has already been discharged before the movable jaw begins its working stroke, similarly hindering crusher productivity.
Figure 1-13 shows the discharge situation at the crushing chamber discharge port.

Figure 1-13 Schematic diagram of jaw crusher discharge
The fixed jaw is on the left, and the solid and dashed lines on the right represent the closed and open positions of the movable jaw, respectively. The trapezoidal area represents the material discharged each time the movable jaw opens. The movable jaw crushes the material when closed, and C₄B₄ represents the maximum width of material that can be discharged when the movable jaw is open. When the movable jaw retreats from A₁ to A₂, the material in the crushing chamber is still in a compacted state. The material starts to be discharged from A2 and continues to the right dead point A₃. The material is discharged only when the closing stroke is reached A₄. At this point, the eccentric shaft rotates approximately 120°, or 1/3 of a turn. The relationship between time t and speed n is: ![]()

The height h of the trapezoid is: ![]()
Where s is the horizontal travel of the movable jaw at the discharge port, in cm;
α is the meshing angle of the crushing chamber, in degrees.
According to the law of free fall, the distance the material falls at time t
![]()
(1-5)
For jaw crushers with dimensions greater than 900mm x 1200mm, we recommend using equations (1-5) to calculate the eccentric shaft speed.
For jaw crushers with dimensions ≤ 900mm x 1200mm, we recommend using equation (1-6) to calculate the speed:

(1-6)
In actual production, the following simple formula is often used to determine the jaw crusher's rotational speed. When the crusher's feed opening width B is ≤ 1200mm, the eccentric shaft speed is:
n = 310 - 145B r/min (1-7)
For feed opening width B > 1200mm, then:
n = 160 - 42B r/min (1-8)
Where B is the jaw crusher's feed opening width, in meters.
The eccentric shaft speed calculated using equations (1-7) and (1-8) is relatively close to the actual speed used by jaw crushers, as shown in Table 1-3.
Table 1-3 Comparison of eccentric shaft speeds of jaw crushers
|
Model/mm |
eccentric shaft speed/(r/min) |
||
|
|
use(1-7) or(1-8)formulation |
real application (cataloguue) |
|
|
Simple type |
1500×2100 1200×1500 990×1200 |
97 136 180 |
100 135 180 |
|
complex type |
600×900 400×600 250×400 150×250 |
223 252 274 228 |
250 250 300 300 |
1.2.2.3 Production Capacity
Many factors affect the production capacity of a jaw crusher, such as material properties, rotational speed, and the motion characteristics of the movable jaw. To accurately determine the processing capacity of a jaw crusher, the influence of factors such as the bite angle, stroke, and speed must be considered. However, in the past,The formulas for calculating throughput do not fully account for these factors. Consequently, no single formula for calculating throughput is completely satisfactory.
1.2.2.4 Motor power
(1) Calculate the crusher power based on the force on the movable jaw
Under normal circumstances, the maximum force on the movable jaw, Pmax (kgf), is:
Pmax=27LH ;(1-10)
Where L and H are the length and height of the crushing chamber, cm respectively.
The average force on the movable jaw, P=0.2Pmax. When calculating the crusher power, the stroke s' at the point of action of the average force P should be used. For a compound swing jaw crusher, s'=0.5s (s is the stroke of the movable jaw at the discharge port); for a simple swing jaw crusher, s'=(0.56~0.6)s. The power of the jaw crusher, N (kW), is:
(1-11)
Where s' is the stroke of the movable jaw at the point of average force application, in cm;
n is the speed of the movable jaw eccentric shaft, in r/min;
η is the crusher's transmission efficiency, which should be between 0.6 and 0.75.
The installed power of the motor in Nm is:
Nm ≈ 1.5 N ; (1-12)
(2) Empirical formula for power
For large jaw crushers with equipment specifications of 900mm×1200mm or more, the power N (kW)
(1-13)
For medium and small jaw crushers with specifications below 600mm×900mm, the power is:
(1-14)
Where B and L are the width and length of the crusher feed opening, respectively, in cm.
(3) Another empirical formula for motor power
The power N of a simple pendulum jaw crusher is:
N≈10LHsn (1-15)
Where s is the travel of the movable jaw at the discharge opening, m.
The power of a compound-swing jaw crusher is calculated using formula :
N ≈ 18 LHrn (1-16)
R is the eccentricity of the eccentric shaft,unit is m.
The specifications of a jaw crusher are expressed by the size of the feed opening (width B × length L). Currently, the largest jaw crusher size is 1600mm opening × 1900mm width. This size crusher can handle a maximum block size of 1.22m, has a discharge opening of 300mm, and a crushing capacity of approximately 1200t/h. However, Lewis believes that the economic advantage of a jaw crusher over a gyratory crusher decreases with a crushing capacity exceeding 545t/h. Above 725t/h, it becomes less economical than a gyratory crusher.
-
ꁇGrinding mill
-
ꁇFlotation machine
-
ꁇGravity machine
-
Magnetic Separator
-
Spiral classifier
-
Hydrocyclone
-
ꁇStone crusher
-
ꁇScreen
-
Stationary screen
-
Vibrating screen
-
Inertia vibrating screen
-
Auto-centering vibrating screen
-
Heavy duty vibrating screen
-
Linear vibrating screen
-
Resonance screen
-
Fine screen
-
High frequency vibrating fine screen
-
Probability screen
-
Equal thick screen
-
Hukki screen
-
Wallis ultrasonic screen
-
Roll screen
-
Shaker screen
-
-
Rotary dryer
-
Rotary kiln